Bếp Từ Kết Hợp Hút Mùi Home Connect BOSCH HMH.PXX875D67E Serie 8
Thông tin chi tiết
Kết nối điều khiển qua thiết bị di động bằng App Homeconnect
‣ 4 vùng nấu cảm ứng từ, 4 x 200x240mm, 2.2kW (có thể tăng đến 3.7 KW)
‣ Bề mặt bếp bằng gốm thủy tinh Schott, vát cạnh trước và sau, viền nhôm 2 canh bên
‣ Công nghệ điều khiển “DirectSelect Premium” với 17 mức gia nhiệt
‣ Tự nhận diện nồi chảo, vùng nấu có thể kết hợp hoặc tách nhỏ ra
‣ Bộ cài đặt thời gian nấu, âm báo khi kết thúc
‣ Chức năng nấu tăng cường, chế độ Move-Mode, FlexInduction Zone, chức năng giữ ấm, chức năng dịch chuyển vùng nấu
‣ Hẹn giờ đến 99 phút
‣ Công suất máy hút mùi tích hợp: 622 m3/h
‣ Độ ồn tối đa 69 dB
‣ Quạt hút với chức năng hẹn giờ và 2 chế độ hút tăng cường.
‣ Lưới nhôm lọc dầu mỡ 12 lớp, hiệu quả lọc lên đến 94%
‣ Xuất xứ Tây Ban Nha
Chức năng an toàn
‣ Khóa trẻ em
‣ Tự tắt khi không sử dụng và khi quá nhiệt
‣ Hiển thị nhiệt dư H/h
‣ An toàn khi tràn
Tổng công suất: 7.4 kW
‣ Hiệu điện thế: 220 - 240V, Tần số: 50/60 Hz, 3*16A
‣ Chiều dài dây cáp: 1.1 m, không kèm đầu cắm
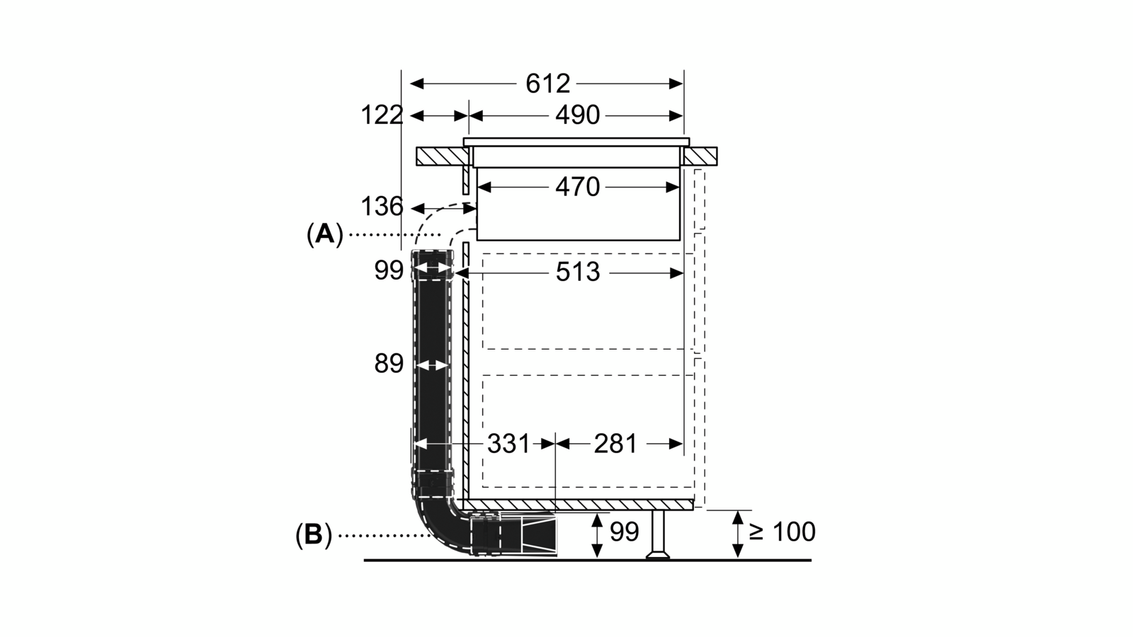
‣ Kích thước sản phẩm: 816R x 527S x 223C mm
‣ Kích thước hộc bếp: 750R x 490S x 223C mm
Cùng danh mục
Danh mục sản phẩm
Sản phẩm mới












